在Windows系统中,利用Linux Reader软件可读取Linux分区内容。运行后,程序会显示所有磁盘分区,只需找到标...[详情]
本文介绍德维森PPC31双机热备控制器的使用方法与常见故障处理方案,帮助用户正确操作并解决使用中的问题。 ...[详情]
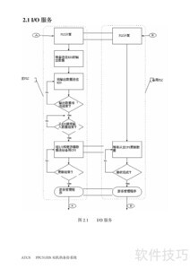
本文是德维森PPC31双机热备控制器说明书,详细讲解产品操作步骤与常见问题处理方法,帮助用户高效掌握设备...[详情]
思科模拟器是一款广受网络工程师青睐的实验工具,能够快速模拟交换机、路由器、各类计算机、服务器及网络云...[详情]
如何部署邮件系统的双机热备方案——草稿 1、 如何部署邮件系统的双机热备 2、 双机热备邮件系统如何部署 ...[详情]
双机热备可有效防止主服务器突发故障造成的数据丢失。通过在主从服务器间部署该机制,主库的数据变更会实时...[详情]
本文将详细介绍在Windows系统中配置MySQL双机热备的方法,帮助提升数据安全与系统稳定性,适用于日常运维与...[详情]
Lifekeeper环境安装与配置指南 1、 硬件配置环境说明 2、 设备型号及配置需符合指定要求 3、 两台配置相同...[详情]
随着微博日益融入日常生活,刷微博已成习惯,而博客则逐渐被冷落。然而在某些场合仍需使用博客,若遗忘账号...[详情]
如何提升QQ空间、新浪微博和个人博客的人气与流量?许多博主都希望获得更高的关注度。除了依靠自然访问外,...[详情]
新浪微博是众多明星活跃的平台,他们常在个人博客发布动态。普通用户也可申请开通自己的博客。只需登录微博...[详情]
许多人希望提升微博人气却苦于无门,现在分享一个有效方法,助你轻松实现目标。 1、 打开360浏览器,进入新...[详情]
博客是记录生活、发布文章的平台,便于博主与读者互动交流。通过管理关注者,优化内容传播,提升信息分享效...[详情]
微博类似微型博客,尽管传统博客已式微,但两者仍可联动互推流量,实现内容共享与用户导流,具体操作方式如...[详情]
1、 null 2、 价格有差异 3、 16博远采用新配方胶辊与工艺升级,剥皮更彻底;配备新型果穗分配装置与矩形孔...[详情]
如何设置博客微博备份工具以同时下载多篇博文?一起来了解具体操作步骤。 1、 点击博客微博备份工具开始操...[详情]
微博重即时互动,博客偏长文深度分享。 1、 微博即时短小,博客长篇深入。 2、 起初我对网络一窍不通,进入...[详情]
当阵列中硬盘出现故障时,热备盘能自动替换失效硬盘,迅速恢复系统正常运行。 1、 配置热备盘十分简便,完...[详情]
双机互联是指两台电脑通过直接连接实现通信,虽然在日常生活中较少见,但在家庭网络搭建或宿舍内电脑互连时...[详情]
今日接到客户电话,要求设置RAID5加热备盘。由于客户配置了四块硬盘,完成RAID5与热备后,系统可支持同时损...[详情]
如何验证群集服务配置是否正常运行 1、 如何检测集群服务配置是否正常运行 2、 如何检测群集服务配置是否...[详情]
配置热备盘有两种方式:全局热备和专用热备。全局热备是指一块硬盘可作为整个通道上所有阵列的备用,一旦任...[详情]
今天分享SQL2008热备详细教程,助您轻松掌握数据备份技巧。 1、 双机热备可快速响应备份任务,实现较短时间...[详情]
1、 AnyChat平台提供服务器双机热备方案,可满足政府、电信运营商及部队等对系统稳定性要求较高的客户需要...[详情]
德维森PPC31双机热备控制器说明书详细说明产品操作方法及常见故障处理方案,帮助用户正确使用与维护设备。 ...[详情]
新朋友都已知晓 1、 首先需注册一个新浪微博账号,若尚未拥有,可通过网站导航或百度搜索新浪微博进入官网...[详情]
快速发布博客与长微博技巧分享 1、 先在此登录博客账号 2、 登录博客后点击此处发布新文章。 3、 在此输...[详情]
使用新浪博客记录工作时,部分私密内容不希望同步至微博。系统默认开启自动同步功能且无法直接修改,令人困...[详情]
如何设置博客微博备份工具的重试等待时间?接下来详细介绍具体操作步骤。 1、 点击博客微博备份工具进行操...[详情]
博客微博备份工具的重试次数设置方法如下,一起来了解具体操作步骤。 1、 点击博客微博备份工具开始操作 2...[详情]