软件设计开发是依据用户需求构建系统的全过程,涵盖需求获取、分析、原型设计、编码实现、测试上线、版本管理及后续维护升级等系统化工程环节。
1、 根据项目需求,开通相应的基础账号,包括服务器购置、域名备案与解析、OSS数据存储、负载均衡配置,以及开发者认证、支付功能启用、开放平台接入。同时涵盖电子签名、实名认证、快递信息查询、芝麻信用预授权代扣、小程序注册和企业对公账户打款验证等服务。
2、 团队需配备产品经理、UI设计师、前后端开发、测试及运维人员,各司其职,协同推进项目研发与上线运行。
3、 明确需求来源,梳理核心问题;界定优先级顺序;深入分析各需求细节;确保理解一致并验证可行性。
4、 结合主要问题与使用场景,开展功能、业务、行业及技术层面的综合分析。
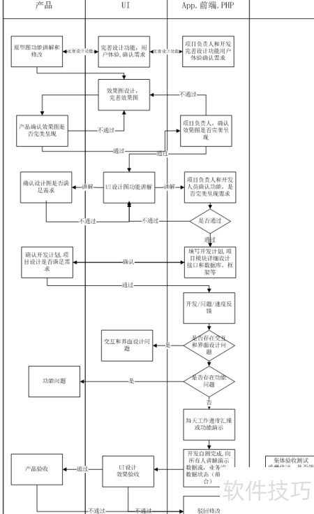
5、 系统功能设计涵盖原型、交互、视觉效果、架构、安全、性能及接口等方面的规划与设计。
6、 编程开发:后端常用语言包括Java、C、PHP等主流技术。
7、 完成黑盒、白盒、功能及系统测试,修复主要问题后,即可发布正式版本上线运行。
